本文涉及一种电脑的主机开关,尤其涉及一种兼带有反映主机机箱内部温度高低的指示灯和调节电脑散热风扇转速大小的功能的电脑主机开关。
现有的电脑中,主机机箱内部的中央处理器以及其它电子设备,都会释放出大量的热量,为了保证电脑系统的正常稳定的工作,必须将这些热量及时快速的散发出去。因此,在电脑主机机箱内都要安装散热风扇帮助散热。电脑电子元件产生的热量多少是波动变化的。目前的电脑,在机箱面板.上都没有安装能反映主机机箱内部温度高低的指示灯,更加没有安装能调节电脑散热风扇的转速大小的装置,无法做到按照实际变化来调节散热风扇的转速。
本文的目的在于提供一种兼带有反映主机机箱内部温度高低的指示灯和调节电脑散热风扇转速大小的功能的电脑主机开关。

为实现上述目的,本文提供一种带有温度指示灯和散热风扇调速器的电脑主机开关,其包括一盒体、一透明的插灯件、一散热风扇转速调整旋钮、一电源开关按钮、两机箱温度指示灯:该插灯件装在该盒体上,其中间设有一壳体,该壳体的中间开设有一开口,该壳体向外延伸设有两收容孔;该散热风扇转速调整旋钮安装在该插灯件的开口中,其中间开设有一通孔;该电源开关按钮安装在该散热风扇转速调整按钮的通孔中;该两机箱温度指示灯插入该插灯件的两收容孔中。
本文具有以下有益效果:本文中,在电源开关按钮的旁边安装了两个机箱温度指示灯,当机箱内部温度到达预定的温度值时,该两指示灯发光,由于该插灯件是透明的,因此人可以从机箱面板处看到该两指示灯发光的效果,就能知道机箱内部温度已经比较高;在电源开关按钮4的旁边安装了一散热风扇转速调整旋钮,当人看到两个机箱温度指示灯发光之后,可以调节该散热风扇转速调节旋钮,加快散热风扇的转速,使机箱内热量快速散去,保证了电脑系统安全稳定的工作。
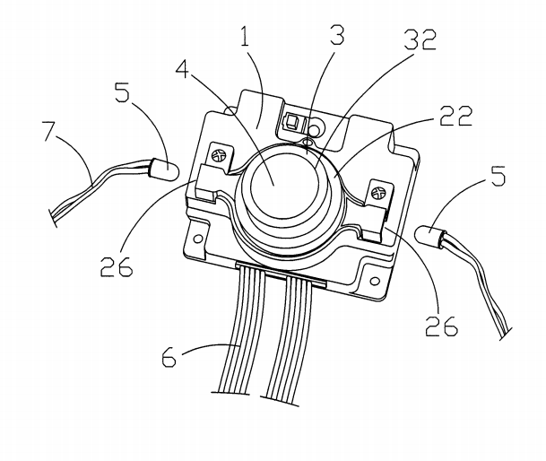
请参阅图1至图2,一种带有温度指示灯和散热风扇调速器的电脑主机开关,其包括一盒体1、一插灯件2、一散热风扇转速调整旋钮3、一电源开关按钮4、两机箱温度指示灯5。
该盒体1内包括一具有电源开关控制电路和散热风扇转速调整控制电路的电路板(图未示)、一连接在该电路板上的电连接器(图未示),该电连接器_上连接若干导线6,该导线6将电信号传送到电脑主机机箱内相应硬件装置上。
该插灯件2插装在该盒体1一面上,其中间是一圆环形的壳体22,该壳体22的中间开设有一个圆形的开口24,该壳体22相对的两端各向外延伸设有一收容孔26。该插灯件2整体都是由透明材料制成。
该散热风扇转速调整旋钮3是一圆柱形的壳体,其安装在该插灯件2的开口24中,该壳体中间开设有一个圆形的通孔32,该散热风扇转速调整旋钮3可以在相反的方向上旋转,向某一方向旋转时控制散热风扇转速加快,向相反方向旋转时控制散热风扇转速减慢。
该电源开关按钮4安装在该散热风扇转速调整按钮3的通孔32中,按压一次该电源开关按钮4主机接通电源,再按压一次该电源开关按钮4主机切断电源。
该两机箱温度指示灯5连接在一根导线7上,该导线7另一端连接在电脑机箱内的温度感应器上,该两机箱温度指示灯5分别插入该插灯件2两端的收容孔26中。当机箱内部温度到达预定的温度值时,该两指示灯5发光。
本文中,在电源开关按钮4的旁边安装了两个机箱温度指示灯5,当机箱内部温度到达预定的温度值时,该两指示灯5发光,由于该插灯件2是透明的,因此人可以从机箱面板处看到该两指示灯5发光的效果,就能知道机箱内部温度已经比较高;在电源开关按钮4的旁边安装了一散热风扇转速调整旋钮3,当人看到两个机箱温度指示灯5发光之后,可以调节该散热风扇转速调节旋钮3,加快散热风扇的转速,使机箱内热量快速散去,保证了电脑系统安全稳定的工作。